Olá! Sou o Innovinho. Como posso ajudar você hoje?
Pular para a navegação Pular para o conteúdo principal
INNOVCABLE INNOVCABLE
  • PRODUTOS
    • CABOS NAVAIS MARITIMUS® (IEC 60092)
      • Cabos potência e controle – flame retardant
      • Cabos navais flame retardant instrumentação e controle
      • Cabos potência e controle – fire resistantant IEC 60331
      • Cabos instrumentação e controle – fire resistant IEC 60331
      • Cabos média tensão – flame retardant
    • CABOS NAVAIS DEEPSEA® (NEK-606 / SHF2)
      • Cabos potência e controle – flame retardant SHF2
      • Cabos de instrumentação – flame retardant SHF2
      • Cabos potência e controle – fire resistant SHF2
      • Cabos de instrumentação – fire resistant SHF2
      • Cabos média tensão – flame retardant SHF2
      • Cabos média tensão – fire resistant SHF2
    • CABOS NAVAIS HYDROCORE® (NEK-606 / POLIURETANO)
      • Cabos potência e controle – flame retardant PUR
      • Cabos de instrumentação – flame retardant PUR
      • Cabos potência e controle – fire resistant PUR
      • Cabos de instrumentação – fire resistant PUR
      • Cabos média tensão – fire resistant PUR
      • Cabos média tensão – flame retardant PUR
    • CABOS DE CONTROLE
      • Cabos de controle – NBR 7289
      • Cabos de controle – NBR 7290
      • Cabos de controle – NBR 16442
      • Cabos de controle especiais pvc
      • Cabos de controle em poliuretano
      • Cabos de controle livres de halogênio
      • Cabos de controle harmonizados
    • CABOS DE INSTRUMENTAÇÃO / SINAL
      • Cabos de instrumentação SB
      • Cabos de instrumentação BF
      • Cabos de instrumentação BFI
      • Cabos de instrumentação BFIC
      • Cabos AFS / AFT / AFD
      • Cabos Profibus
    • CABOS DE INCÊNDIO
      • Cabos de incêndio NBR 17240
      • Cabos de incêndio IEC 60331
    • CABOS DE BORRACHA
      • Cabos de borracha para aplicações leves e médias
      • Cabos de borracha para aplicações pesadas
      • Cabos de borracha singelos 0,6/1kv a 3,6/6kv
      • Cabos para uso permanente em água
    • CABOS PARA ESTEIRAS E ROBÓTICA
      • Cabos de controle movflex
      • Cabos de controle movflex drag chains
      • Cabos para robôs
      • Cabos singelos uso móvel
    • CABOS PARA ELEVAÇÃO E EQUIP. MÓVEIS
      • Cabos chatos especiais com e sem blindagem
      • Cabos para bobinadores, festoons e sistemas de transporte
      • Cabos para elevadores
      • Cabos uso móvel servomotor – inversor de frequência
    • CABOS MÓVEIS (NORMA NBR)
      • Cabos chatos NBR 8661
      • Cabos SO-M NBR 9372
      • Cabos WM / GM NBR 9655
    • CABOS PARA INVERSORES (VFD) E SEG. INTRINSECA
      • Cabos servomotores
      • Cabos de instrumentação segurança intrinseca
      • Cabos eletrônicos segurança intrinseca
    • CABOS DE MÉDIA TENSÃO / PREDIAIS (USO FIXO)
      • Cabos de média tensão NBR/IEC
      • Cabos flexíveis (USO FIXO)
    • CABOS DE SOLDA
      • Cabos para solda
    • CABOS PARA PROTEÇÃO CATÓDICA E BALIZAMENTO
      • Cabos HMWPE
      • Cabos INNOVDF/HMWPE
      • Cabos sinalização de aeroportos
    • CABOS FOTOVOLTAICOS
      • Cabos fotovoltaicos 0,6/1KV
      • Cabos fotovoltaicos 1,8/3KV
    • CABOS NORMAS AMERICANAS
  • Academia do Conhecimento
  • ARTIGOS TÉCNICOS
  • Empresa
    • NACIONALIZAÇÃO
    • PESQUISA E DESENVOLVIMENTO P&D
    • POLÍTICAS
    • SEGURANÇA E CONFIABILIDADE
    • QUALIDADE / ISO 9001:2015
    • SOBRE NÓS
  • Mercado
    • AEROPORTUÁRIO
    • APLICAÇÕES MÓVEIS
    • AUTOMAÇÃO
    • AUTOMOTIVO
    • DEFESA E AEROESPACIAL
    • ENERGIA EÓLICA
    • EVENTOS
    • FERROVIÁRIO
    • FOTOVOLTAICO
    • INDUSTRIAL
    • MINERAÇÃO
    • NAVAL, ÓLEO E GÁS
    • SUCROENERGÉTICO
  • CONTATO
Login / registro
Menu
INNOVCABLE INNOVCABLE
PRODUTOS/CATEGORIAS >
Innovcable cabos especiais

Portfolio

Início » Academia do Conhecimento » Página 4
  • 1. CENTRAL DE RECURSOS TÉCNICOS INNOVCABLE
    • 1.1 Guias de Aplicação e Instalação de Cabos Móveis
      • 1.1.1 GUIA DE CABOS MÓVEIS INNOVCABLE
      • 1.1.2 APLICAÇÃO E INSTALAÇÃO DE CABOS MÓVEIS
      • 1.1.3 PORQUE USAR CABOS MÓVEIS INNOVCABLE
    • 1.2 Ferramentas de Cálculo e Dimensionamento
      • 1.2.1 TABELAS DE DIMENSIONAMENTO NBR 5410
      • 1.2.2 CÁLCULOS DE QUEDA DE TENSÃO (Voltage Drop Calculations)
      • 1.2.3 RAIO DE CURVATURA MÍNIMA PERMITIDA:
      • 1.2.4 CLASSIFICAÇÕES DE CORRENTE E QUEDA DE TENSÃO (VOL 1 & 2 – IEE)
    • 1.3. Especificações e Dados de Materiais
      • 1.3.1 CÓDIGOS E NOMENCLATURAS DE CABOS NAVAIS NEK 606
      • 1.3.2 CAPAS SHF1 E SHF2 (NEK 606)
      • 1.3.3 RESISTÊNCIA DOS MATERIAIS DE ISOLAMENTO E CAPA
      • 1.3.4 RESISTÊNCIA DA ARMAÇÃO (Armour Resistance)
      • 1.3.5 NORMAS DE DESEMPENHO NO FOGO (Fire Performance Cable Standards)
      • 1.3.6 TABELAS DE FIOS E CABOS TERMOPARES DE COMPENSAÇÃO E EXTENSÃO
    • 1.4. Glossário e Referências Rápidas
      • 1.4.1 GLOSSÁRIO: TERMOS TÉCNICOS EM INGLÊS:
      • 1.4.2 TABELAS DE CÓDIGO DE CORES
      • 1.4.3 CLASSE DO CONDUTOR (mm² X AWG) NM280
      • 1.4.4 COEFICIENTES DE TEMPERATURA DO COBRE
      • 1.4.5 DADOS DIVERSOS DE METAIS
      • 1.4.6 CÓDIGOS DE CABOS DE POTENCIA (450/750 V) CENELEC HD 361
      • 1.4.7 STANDARDS
      • 1.4.8 DIMENSIONAL DAS BOBINAS DE MADEIRA
  • 2. NORMAS E REGULAMENTAÇÕES DO SETOR
    • 2.1 Entidades de Normas Técnicas, Associações e Órgãos Reguladores
      • 2.1.1 Entidades de Normas Técnicas
      • 2.1.2 Associações e Órgãos Reguladores
  • 3. Ecossistema de Inovação e Pesquisa
    • 3.1. Institutos de Pesquisa de Vanguarda, Polos de Excelência Acadêmica e Fontes de Pesquisa
      • 3.1.1 Institutos de Pesquisa de Vanguarda
      • 3.1.2 Polos de Excelência Acadêmica
      • 3.1.3 Fontes de Pesquisa (Bases de Dados e Periódicos)
Ver em tamanho grande
  • 1.1.2 APLICAÇÃO E INSTALAÇÃO DE CABOS MÓVEIS

CALCULO DA SECÇÃO TRANSVERSAL DO CABO

Ver em tamanho grande
  • 1.1.2 APLICAÇÃO E INSTALAÇÃO DE CABOS MÓVEIS

PARÂMETROS ELÉTRICOS DIN

Ver em tamanho grande
  • 1.1.2 APLICAÇÃO E INSTALAÇÃO DE CABOS MÓVEIS

INSTALAÇÃO – APLICAÇÕES VERTICAIS – REELFLEX (K)NSHTÖU-J / (N)SHTÖU-J # REELFLEX PUR-HF # FESTFLEX (N) GRDGÖU

Ver em tamanho grande
  • 1.1.2 APLICAÇÃO E INSTALAÇÃO DE CABOS MÓVEIS

INSTALAÇÃO DOS CABOS

Ver em tamanho grande
  • 1.1.2 APLICAÇÃO E INSTALAÇÃO DE CABOS MÓVEIS

BOBINAS – MANUSEIO E ARMAZENAMENTO

Ver em tamanho grande
  • 1.1.2 APLICAÇÃO E INSTALAÇÃO DE CABOS MÓVEIS

INSTALAÇÃO – TIPOS DE BOBINAS (TAMBORES)

Ver em tamanho grande

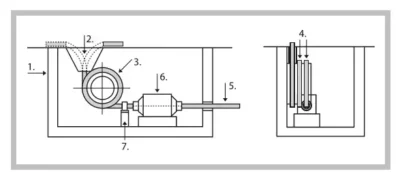
INSTALAÇÃO – SISTEMA DE ANCORAGEM

CABOS ESTEIRAS PORTA CABOS
Ver em tamanho grande
  • 1.1.3 PORQUE USAR CABOS MÓVEIS INNOVCABLE

Porque usar CABOS MÓVEIS INNOVCABLE

Ver em tamanho grande
  • 1.1.2 APLICAÇÃO E INSTALAÇÃO DE CABOS MÓVEIS

INSTALAÇÃO – MUDANÇA DE DIREÇÃO

GUIA DE CABOS MOVEIS INNOVCABLE
Ver em tamanho grande
  • 1.1.1 GUIA DE CABOS MÓVEIS INNOVCABLE

GUIA DE CABOS MÓVEIS

  • 1
  • 2
  • 3
  • 4
  • 5
  • Av. Minasa, 25 – Sumaré-SP – CEP 13180-400 – Condominio Industrial Business Park
  • +55 11 3090-6855
  • WhatsApp: +55 19 98100-0711
  • Atendimento ao cliente: innovcable@innovcable.com.br
  • Compras: compras@innovcable.com.br
  • Vendas: vendas@innovcable.com.br
  • Financeiro: financeiro@innovcable.com.br
  • RH: rh@innovcable.com.br
  • Engenharia e Qualidade: engenharia@innovcable.com.br
  • E-commerce: ecommerce@innovcable.com.br
PRODUTOS
  • CABOS NAVAIS MARITIMUS® (IEC 60092)
  • CABOS NAVAIS DEEPSEA® (NEK-606 / SHF2)
  • CABOS NAVAIS HYDROCORE® (NEK-606 / POLIURETANO)
  • CABOS DE BORRACHA
  • CABOS DE CONTROLE
  • CABOS DE INCÊNDIO
  • CABOS DE INSTRUMENTAÇÃO / SINAL
  • CABOS DE SOLDA
  • CABOS FOTOVOLTAICOS
  • CABOS MÓVEIS (NORMA NBR)
  • CABOS PARA ESTEIRAS E ROBÓTICA
  • CABOS PARA ELEVAÇÃO E EQUIP. MÓVEIS
  • CABOS DE MÉDIA TENSÃO / PREDIAIS (USO FIXO)
  • CABOS PARA PROTEÇÃO CATÓDICA E BALIZAMENTO
  • CABOS NORMAS AMERICANAS
ACADEMIA DO CONHECIMENTO
  • Academia do Conhecimento
  • ARTIGOS TÉCNICOS
    • Características dos cabos
    • Inovações
MERCADO
  • AEROPORTUÁRIO
  • APLICAÇÕES MÓVEIS
  • AUTOMAÇÃO
  • AUTOMOTIVO
  • DEFESA E AEROESPACIAL
  • ENERGIA EÓLICA
  • EVENTOS
  • FERROVIÁRIO
  • FOTOVOLTAICO
  • INDUSTRIAL
  • MINERAÇÃO
  • NAVAL, ÓLEO E GÁS
  • SUCROENERGÉTICO
EMPRESA
  • NACIONALIZAÇÃO
  • SEGURANÇA E CONFIABILIDADE
  • QUALIDADE / ISO 9001:2015
  • PESQUISA E DESENVOLVIMENTO
  • POLÍTICAS DA INNOVCABLE
  • SOBRE NÓS
Innovcable Copyright Todos os direitos reservados. | Desenvolvido por Vértice Digital
payments
Comece a digitar para ver as páginas que você está procurando.
  • PRODUTOS
    • CABOS NAVAIS MARITIMUS® (IEC 60092)
      • Cabos potência e controle – flame retardant
      • Cabos navais flame retardant instrumentação e controle
      • Cabos potência e controle – fire resistantant IEC 60331
      • Cabos instrumentação e controle – fire resistant IEC 60331
      • Cabos média tensão – flame retardant
    • CABOS NAVAIS DEEPSEA® (NEK-606 / SHF2)
      • Cabos potência e controle – flame retardant SHF2
      • Cabos de instrumentação – flame retardant SHF2
      • Cabos potência e controle – fire resistant SHF2
      • Cabos de instrumentação – fire resistant SHF2
      • Cabos média tensão – flame retardant SHF2
      • Cabos média tensão – fire resistant SHF2
    • CABOS NAVAIS HYDROCORE® (NEK-606 / POLIURETANO)
      • Cabos potência e controle – flame retardant PUR
      • Cabos de instrumentação – flame retardant PUR
      • Cabos potência e controle – fire resistant PUR
      • Cabos de instrumentação – fire resistant PUR
      • Cabos média tensão – fire resistant PUR
      • Cabos média tensão – flame retardant PUR
    • CABOS DE CONTROLE
      • Cabos de controle – NBR 7289
      • Cabos de controle – NBR 7290
      • Cabos de controle – NBR 16442
      • Cabos de controle especiais pvc
      • Cabos de controle em poliuretano
      • Cabos de controle livres de halogênio
      • Cabos de controle harmonizados
    • CABOS DE INSTRUMENTAÇÃO / SINAL
      • Cabos de instrumentação SB
      • Cabos de instrumentação BF
      • Cabos de instrumentação BFI
      • Cabos de instrumentação BFIC
      • Cabos AFS / AFT / AFD
      • Cabos Profibus
    • CABOS DE INCÊNDIO
      • Cabos de incêndio NBR 17240
      • Cabos de incêndio IEC 60331
    • CABOS DE BORRACHA
      • Cabos de borracha para aplicações leves e médias
      • Cabos de borracha para aplicações pesadas
      • Cabos de borracha singelos 0,6/1kv a 3,6/6kv
      • Cabos para uso permanente em água
    • CABOS PARA ESTEIRAS E ROBÓTICA
      • Cabos de controle movflex
      • Cabos de controle movflex drag chains
      • Cabos para robôs
      • Cabos singelos uso móvel
    • CABOS PARA ELEVAÇÃO E EQUIP. MÓVEIS
      • Cabos chatos especiais com e sem blindagem
      • Cabos para bobinadores, festoons e sistemas de transporte
      • Cabos para elevadores
      • Cabos uso móvel servomotor – inversor de frequência
    • CABOS MÓVEIS (NORMA NBR)
      • Cabos chatos NBR 8661
      • Cabos SO-M NBR 9372
      • Cabos WM / GM NBR 9655
    • CABOS PARA INVERSORES (VFD) E SEG. INTRINSECA
      • Cabos servomotores
      • Cabos de instrumentação segurança intrinseca
      • Cabos eletrônicos segurança intrinseca
    • CABOS DE MÉDIA TENSÃO / PREDIAIS (USO FIXO)
      • Cabos de média tensão NBR/IEC
      • Cabos flexíveis (USO FIXO)
    • CABOS DE SOLDA
      • Cabos para solda
    • CABOS PARA PROTEÇÃO CATÓDICA E BALIZAMENTO
      • Cabos HMWPE
      • Cabos INNOVDF/HMWPE
      • Cabos sinalização de aeroportos
    • CABOS FOTOVOLTAICOS
      • Cabos fotovoltaicos 0,6/1KV
      • Cabos fotovoltaicos 1,8/3KV
    • CABOS NORMAS AMERICANAS
  • Academia do Conhecimento
  • ARTIGOS TÉCNICOS
  • Empresa
    • NACIONALIZAÇÃO
    • PESQUISA E DESENVOLVIMENTO P&D
    • POLÍTICAS
    • SEGURANÇA E CONFIABILIDADE
    • QUALIDADE / ISO 9001:2015
    • SOBRE NÓS
  • Mercado
    • AEROPORTUÁRIO
    • APLICAÇÕES MÓVEIS
    • AUTOMAÇÃO
    • AUTOMOTIVO
    • DEFESA E AEROESPACIAL
    • ENERGIA EÓLICA
    • EVENTOS
    • FERROVIÁRIO
    • FOTOVOLTAICO
    • INDUSTRIAL
    • MINERAÇÃO
    • NAVAL, ÓLEO E GÁS
    • SUCROENERGÉTICO
  • CONTATO
  • Login / registro

Usamos cookies para melhorar sua experiência em nosso site. Ao navegar neste site, você concorda com o uso de cookies.

Mais informações Mais informações Aceitar
Loja
0 itens Carrinho
Minha conta