
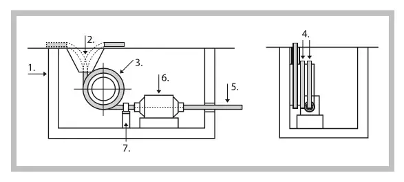
INSTALAÇÃO – SISTEMA DE ANCORAGEM

- Suporte de cabo
- Boca de entrada
- Tambor de rolamento anti-stress*
- Cabo enrolado duas vezes no tambor de enrolamento anti-stress
- Cabo de alimentação
- Caixa de terminais
- Abraçadeira
*(Para cabos de Média Voltagem= 10 x Diâmetro total; Para cabos de Baixa Voltagem= 5 x Diâmetro total)
Introdução
A performance e a vida útil de um cabo em sistemas móveis—seja em pontes rolantes, festoons ou enroladores—são intrinsecamente dependentes da integridade de seu sistema de ancoragem. Uma ancoragem inadequada gera pontos de concentração de estresse mecânico, que atuam como catalisadores para falhas prematuras por fadiga, deformação da jaqueta ou até mesmo ruptura dos condutores. Este artigo técnico detalha os princípios de engenharia e os parâmetros críticos para a correta implementação de sistemas de ancoragem, garantindo a estabilidade operacional e a máxima longevidade do investimento.
1. O Princípio Fundamental: Distribuição de Tensão de Tração
O axioma central de qualquer sistema de ancoragem robusto é a distribuição uniforme das forças de tração sobre uma área superficial maximizada do cabo. A aplicação de uma força de tração em um ponto singular ou em uma área muito restrita excede a resistência à compressão radial do cabo. Isso pode levar a consequências severas, como:
- Deformação da Isolação e da Jaqueta: A compressão excessiva pode deslocar o material isolante, comprometendo as propriedades dielétricas e a distância de escoamento.
- Alongamento Não-Uniforme dos Condutores: O estresse localizado pode causar o escoamento plástico de condutores individuais, alterando a impedância e a capacidade de condução de corrente.
- Falha Estrutural: O ponto de fixação torna-se o elo mais fraco, propenso à ruptura sob cargas de pico ou cíclicas.
O método mais comum e eficaz para mitigar esses riscos é a utilização de terminais de tração tipo malha, conhecidos como cable grips. Estes dispositivos convertem a força de tração longitudinal em uma pressão radial distribuída de forma homogênea, abraçando o cabo sem danificá-lo.
2. Parâmetros Críticos para a Instalação e Ancoragem
Para que o cable grip e o sistema de ancoragem funcionem conforme projetado, parâmetros dimensionais rigorosos devem ser observados:
- Comprimento de Contato da Malha: A tensão de carga deve ser distribuída ao longo de um comprimento da malha de tração equivalente a 20 a 25 vezes o diâmetro externo do cabo. Esta relação empírica garante que a pressão radial aplicada permaneça abaixo do limite de compressão do cabo, prevenindo os danos mencionados anteriormente.
- Alça de Serviço (Loop de Alívio): É imperativo projetar uma sobra de cabo (“loop”) antes do ponto de ancoragem e da entrada na caixa de terminais. Esta alça não é apenas uma conveniência para manutenção; sua função primária é desacoplar mecanicamente os terminais elétricos das tensões dinâmicas do sistema. Ela absorve vibrações, torções e desalinhamentos, garantindo que as conexões elétricas permaneçam íntegras.
- Distância Mínima de Flexão na Ancoragem: Em pontos centrais de sistemas festoon ou na entrada de guias, a distância vertical entre a boca de entrada do conector e a guia do cabo não deve ser inferior a 15 vezes o diâmetro externo do cabo ou 1 metro, prevalecendo o maior valor. Este parâmetro previne que o cabo seja submetido a um raio de curvatura agudo em um ponto de fixação rígido. A violação desta regra induz estresse de flexão cíclico, acelerando drasticamente a fadiga do cobre e do material isolante.
- Fixação em Tambor de Alívio: Para ancoragens que utilizam um tambor fixo, é mandatório que o cabo execute no mínimo 2 voltas completas ao redor do tambor. O atrito gerado por este contato (efeito cabrestante) é o que efetivamente absorve a maior parte da força de tração, aliviando a tensão sobre o ponto de fixação final e garantindo que ele atue apenas como um ponto de terminação, e não como o principal elemento de suporte de carga.
3. Gerenciamento Avançado: Mitigação da Tensão Dinâmica em Sistemas de Alta Velocidade
Em aplicações com altas velocidades de translação e acelerações elevadas, a dinâmica das forças de inércia torna-se um fator preponderante. A rápida reversão de movimento, especialmente em enroladores, pode gerar picos de tensão (efeito chicote) que superam em múltiplas vezes a carga estática de trabalho, sendo uma causa primária de falhas prematuras.
A solução de engenharia mais eficaz é a implementação de sistemas de controle de movimento com perfis de aceleração/desaceleração otimizados (ex: rampas em “S”). O conceito é reduzir a velocidade do sistema de forma controlada à medida que se aproxima do ponto de reversão (ponto central do percurso). Após a passagem pelo ponto de inversão de enrolamento e a estabilização da direção, o sistema pode então reacelerar.
Esta estratégia de controle minimiza a variação da aceleração (Jerk), resultando em uma transição suave que amortece os picos de tensão e reduz drasticamente o estresse cíclico sobre o cabo e todo o sistema de ancoragem. A integração de tal controle no projeto do sistema é um investimento que se traduz diretamente em maior confiabilidade, redução de paradas não programadas e extensão da vida útil do cabo.
Conclusão
A correta ancoragem de cabos móveis transcende a simples fixação mecânica. Trata-se de uma disciplina de engenharia que exige a compreensão e aplicação de princípios de distribuição de força, gerenciamento de raios de curvatura e controle de dinâmica de sistemas. A aplicação rigorosa destes fundamentos é um requisito indispensável para a integridade, segurança e viabilidade econômica de qualquer sistema de movimentação industrial.
INSTALAÇÃO – SISTEMA DE ANCORAGEM
- 1. CENTRAL DE RECURSOS TÉCNICOS INNOVCABLE
- 1.1 Guias de Aplicação e Instalação de Cabos Móveis
- 1.2 Ferramentas de Cálculo e Dimensionamento
- 1.3. Especificações e Dados de Materiais
- 1.3.1 CÓDIGOS E NOMENCLATURAS DE CABOS NAVAIS NEK 606
- 1.3.2 CAPAS SHF1 E SHF2 (NEK 606)
- 1.3.3 RESISTÊNCIA DOS MATERIAIS DE ISOLAMENTO E CAPA
- 1.3.4 RESISTÊNCIA DA ARMAÇÃO (Armour Resistance)
- 1.3.5 NORMAS DE DESEMPENHO NO FOGO (Fire Performance Cable Standards)
- 1.3.6 TABELAS DE FIOS E CABOS TERMOPARES DE COMPENSAÇÃO E EXTENSÃO
- 1.4. Glossário e Referências Rápidas
- 1.4.1 GLOSSÁRIO: TERMOS TÉCNICOS EM INGLÊS:
- 1.4.2 TABELAS DE CÓDIGO DE CORES
- 1.4.3 CLASSE DO CONDUTOR (mm² X AWG) NM280
- 1.4.4 COEFICIENTES DE TEMPERATURA DO COBRE
- 1.4.5 DADOS DIVERSOS DE METAIS
- 1.4.6 CÓDIGOS DE CABOS DE POTENCIA (450/750 V) CENELEC HD 361
- 1.4.7 STANDARDS
- 1.4.8 DIMENSIONAL DAS BOBINAS DE MADEIRA
- 2. NORMAS E REGULAMENTAÇÕES DO SETOR
- 3. Ecossistema de Inovação e Pesquisa
Artigos Relacionados

TABELAS E CÓDIGOS PARA TERMOPARES
CÓDIGO DE CORES INTERNACIONAL PARA CABOS E FIOS DE COMPENSAÇÃO E EXTENSÃO CÓDIGO DOS CABOS TABELA DE LIMITES DE ERROS

TABELAS DE DIMENSIONAMENTO NBR 5410
DOWNLOAD TABELAS DE DIMENSIONAMENTO NBR 5410 Explanaçâo Com o objetivo de oferecer um instrumento prático para auxiliar no trabalho de

Tabelas de código de cores
Código de cores de acordo com a DIN 47100 No. Colour Short Form 1 WHITE WH 2 BROWN BN 3

TABELA E ORIENTAÇÕES AWG X CONVERSÃO MÉTRICA (mm²)
Desvendando o Padrão AWG: Um Guia Técnico para Profissionais e Entusiastas – American Wire Gauge (AWG) para conversão métrica (mm²)

STANDARDS
Padrões de cabos britânicos BS4737-3.30:1986 Sistemas de alarme contra intrusão. Especificação para cabos isolados em PVC para fiação de interconexão

RESISTÊNCIA DOS MATERIAIS DE ISOLAMENTO E CAPA, COMPARATIVO DAS PROPRIEDADES
Composto Propriedade PVC HDPE CPE Polie tileno Celular Polipro pileno Nylon PUR Resistência à oxidação E E E E E

RESISTENCIA DA ARMAÇÃO (ARMOUR RESISTANCE)
Cabo de Resistência de Blindagem BS6480: Condutor, revestimento de condutor, resistência da blindagem e condutividade percentual de cabos de 2,

Raio de curvatura miníma permitida: de acordo com a DIN VDE 0298 part 3
Raio de curvatura mínimo permitido de acordo com DIN VDE 0298 parte 3 Tensão nominal até 0,6 / 1 kV
Dúvidas? Envie uma mensagem ao especialista
Produtos

Profibus DP DeepSea® ARMADO SHF2
Cabo de barramento; PROFIBUS DP; Instalação fixa; Impedância característica nominal: 150 Ω; 1x2x0,64; SHF2; Retardante de chama: IEC 60332-1-2; violeta; 8 mm

MariTimus® Cabo Naval Unipolar de Potência e Controle 0,6/1 kV XLPE/SHF1 (LSOH) Armado e Flame Retardant
Maritimus® Cabo Naval Unipolar de Potência e Controle; Armado; Max. 300,00mm²; 0,6/1 kV; 1 condutor; XLPE / SHF1; Flame Retardant; +90°C; IEC 60092

MariTimus® Cabo Naval Unipolar de Potência e Controle 0,6/1 kV MICA / XLPE / SHF1 (LSOH) Fire Resistant IEC 60331
Maritimus® Cabo Naval Unipolar de Potência e Controle; Max. 120,00mm²; 0,6/1 kV; 1 condutor; MICA / XLPE / SHF1; Fire Resistant; +90°C; IEC 60092; 60331

MariTimus® Cabo Naval Unipolar de Potência e Controle 0,6/1 kV MICA / XLPE / SHF1 (LSOH) Armado e Fire Resistant IEC 60331
Maritimus® Cabo Naval Multipolar de Potência e Controle Armado; Max. 120,00mm²; 0,6/1 kV; 1 condutor; MICA / XLPE / SHF1; Fire Resistant; +90°C; IEC 60092; 60331